立即注册找回密码

QQ登录

只需一步,快速开始

微信登录

微信扫一扫,快速登录

搜索
小桔灯网 门户 资讯中心 企业动态 查看内容

刚刚!迈瑞起诉!

2025-6-16 14:19| 编辑: 鹏哥| 查看: 1582| 评论: 0|来源: 企查查,IVD从业者网整理

摘要: 迈瑞近年多次发起商标维权
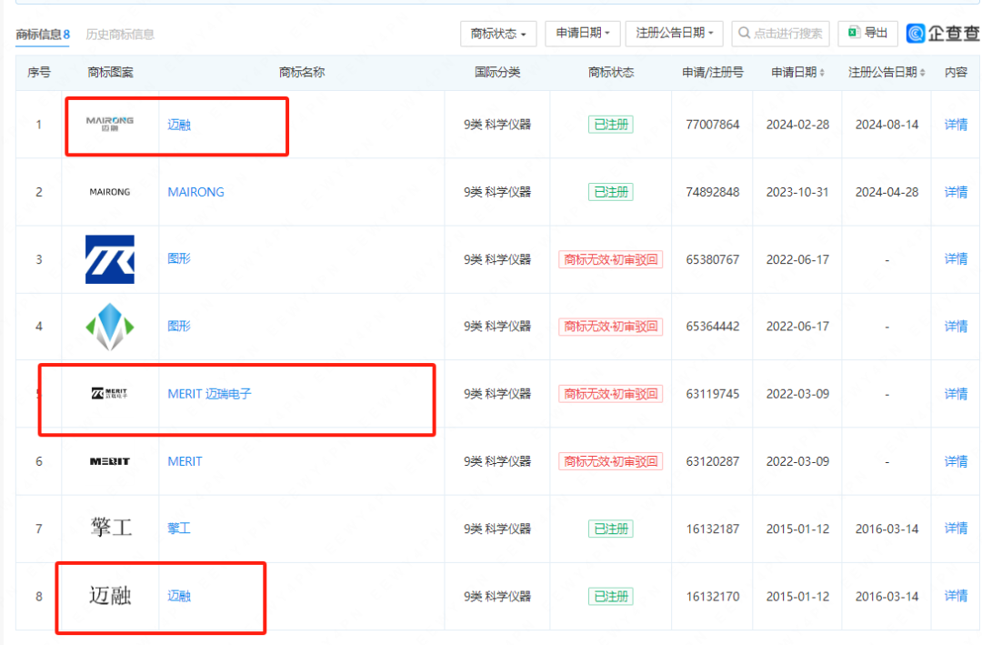
深圳迈瑞医疗以侵害商标权纠纷为由,起诉上海迈瑞电子科技有限公司,企查查数据显示,深圳迈瑞医疗拥有迈瑞、迈瑞MINARAY等多个商标的所有权。
图片
图片
图片
图片
据悉,上海迈瑞电子科技有限公司成立于2004年。公司致力于高科技智能化产品的开发,生产及销售。
图片
随着市场以及客户的需求,从2009年开始公司主要投身于:智慧大厅综合管理平台、医院分诊引导系统、多媒体评价交互管理系统、多媒体触摸查询系统、多媒体信息发布系统等产品开发。
上海迈瑞电子是一家从事医疗机构分诊导诊系统智慧化方案的解决商,其拥有的商标的迈融、MAIRONG等。
从公开信息来看,深圳迈瑞医疗起诉上海迈瑞电子的商标侵权,或许是因为上海迈瑞电子的公司名称、以及同在医疗系统中从事相关业务,而产生的商标隐形价值问题。
图片
从公开信息来看,迈瑞与商标相关的诉讼案件有22件,占比为10%左右,这也体现了迈瑞对商标这种无形资产的重视程度。
图片

2024年,深圳迈瑞曾起诉过3个“迈瑞”

2024年7月,企查查数据显示,深圳迈瑞起诉呼和浩特市迈瑞医疗器械有限公司不正当竞争,呼和浩特市迈瑞成立与2013年,目前参保人数7人,主要从事医疗器械III类、II类的销售。

图片
2024年5月8日信息更新,深圳迈瑞新增开庭公告,与上海迈瑞医药科技有限公司因仿冒纠纷对簿公堂,上海迈瑞医药科技有限公司成立于2009年,经营范围包含:医药科技领域内的技术开发、技术咨询、技术服务、技术转让。
图片
2024年2月24日,深圳迈瑞新增开庭公告,与江苏盐城迈瑞铂科技有限公司因侵害商标权纠纷对簿公堂。
图片
IVD企业商标侵权如何维权和裁定呢?
用知名品牌相近或者相似的商标“搭便车”的行为是一种不正当竞争,接下来我们以深圳迈瑞和大连迈瑞的商标纠纷案例给大家做一下科普:
图片
《中华人民共和国商标法》第五十八条规定:“将他人注册商标、未注册的驰名商标作为企业名称中的字号使用,误导公众,构成不正当竞争行为的,依照《中华人民共和国反不正当竞争法》处理。”
《中华人民共和国反不正当竞争法》第六条规定:“经营者不得实施下列混淆行为,引人误认为是他人商品或者与他人存在特定联系:……(二)擅自使用他人有一定影响的企业名称(包括简称、字号等)、社会组织名称(包括简称等)、姓名(包括笔名、艺名、译名等)”

深圳迈瑞和大连迈瑞的裁定中,法院认为:

本案中,原告“迈瑞”商标注册在先,被告含有“迈瑞科”字号企业名称登记注册在后,被告在其企业名称中使用的“迈瑞科”字号,与原告“迈瑞”注册商标相近似,且“迈瑞”二字完全相同。

被告经营范围包含的医疗器械销售等内容,与原告注册商标的核定使用品类重合,且“迈瑞”商标经国家工商行政管理总局商标局认定为驰名商标,多年来在全国医疗器械及医用仪器行业中享有较高的知名度和美誉度。

原告自2007年即在大连地区设有分公司,被告作为同业经营者,应当知晓原告“迈瑞”品牌的知名度。被告在其企业名称中使用与原告相同及相似的名称,并以该企业名称开展与原告注册商标核定使用范围相同的市场经营行为,足以使相关公众误认为其与原告之间存在某种联系,容易使相关公众产生混淆,主观上具有攀附原告商誉的故意,构成不正当竞争,依法应当承担停止侵权、赔偿损失的民事责任。被告辩称其成立时原告的“迈瑞”商标并不是驰名商标,不具有影响力,与事实不符,本院不予支持。

裁判结果显示:
一、被告大连迈瑞科医疗器械有限公司立即停止使用含有“迈瑞”文字的企业名称;二、被告大连迈瑞科医疗器械有限公司于本判决生效之日起三十日内变更企业名称,变更后的企业名称不得含有“迈瑞”文字。
图片
声明:
1、凡本网注明“来源:小桔灯网”的所有作品,均为本网合法拥有版权或有权使用的作品,转载需联系授权。
2、凡本网注明“来源:XXX(非小桔灯网)”的作品,均转载自其它媒体,转载目的在于传递更多信息,并不代表本网赞同其观点和对其真实性负责。其版权归原作者所有,如有侵权请联系删除。
3、所有再转载者需自行获得原作者授权并注明来源。

最新评论

关闭

官方推荐 上一条 /3 下一条

客服中心 搜索 官方QQ群 洽谈合作
返回顶部