立即注册找回密码

QQ登录

只需一步,快速开始

微信登录

微信扫一扫,快速登录

搜索
小桔灯网 门户 资讯中心 政策解读 查看内容

协和拿下全国“首证”,LDT到IVD闭环跑通!企业与医院如何抓住 LDT 转化红利!

2026-4-16 15:04| 编辑: 沙糖桔| 查看: 194| 评论: 0|来源: IVD创新转化

摘要: 拿着29家试点医院的名单,精准匹配自身技术,主动敲开顶尖临床团队的大门。

做 IVD 的都懂,临床有好技术,不等于能做成好产品。

医院实验室里,能解决临床痛点的创新方法从来不少 —— 比如协和的洋白蜡花粉检测,就是临床实打实摸出来的需求。但搁以前,从院内自研到拿证上市,光临床试验就能耗掉好几年,砸进去的钱更是没数,很多好技术就这么卡在了半路。

现在不一样了。北京协和医院拿下全国 LDT 转注册 “首证”,直接把从 LDT 院内自研到 IVD 全国上市的完整闭环给跑通了!这不是什么遥不可及的政策概念,而是企业和医院联手,就能复制的实战路径。

本文就以协和为标杆,把 LDT 转化的全流程、29 家试点医院名单、多家医院的落地案例给你掰扯明白,不管是 IVD 企业想找合作,还是试点医院想做转化,都能从里面挖到实实在在的红利。

一、 从灰色地带到合规破冰:LDT的政策演进

长期以来,医疗机构自研诊断试剂始终处于“临床有刚需、监管无明确”的尴尬境地。一方面,罕见病诊断无试剂可用、新型病原体检测无成熟产品,倒逼医院自主研发;另一方面,缺乏统一的备案流程与使用边界,让医院的研发与使用始终游走在合规的边缘。

转折发生在2021年。新修订的《医疗器械监督管理条例》第53条正式落地,首次在国家法律层面为LDT正名:“对国内尚无同品种产品上市的体外诊断试剂,符合条件的医疗机构根据本单位的临床需要,可自行研制,并在执业医师指导下在本单位内使用。”

2022年底至2023年初,国家药监局与国家卫健委联合启动全国LDT试点工作,标志着监管正式从“一刀切严管”转向“有条件放开”。需要明确的是,监管层放开LDT的核心初衷,绝非让医院去抢占IVD企业的常规赛道,而是为了填补临床空白——罕见病、高频变异传染病、早期肿瘤多组学检测等无现成上市产品且临床急需的领域,才是LDT的真正用武之地。

二、 稀缺的入场券:全国仅29家试点医院

LDT试点资格的审批极为严苛,仅授予医疗与科研实力双顶尖的“国家队”。入选机构必须具备CAP/ISO15189等完善的实验室质量管理体系,拥有成熟的研发团队与质控能力,以承担试剂质量与临床安全的主体责任。

根据国家药监局、卫健委先后发布的两批试点通知,截至目前,全国仅批复了29家试点医院。

三、 实战拆解:LDT转化的标准“五步法”

不少IVD企业对LDT存在严重的认知误区,认为这只是医疗机构“自研自用”的闭环。事实上,LDT的终极目标是推动临床创新的产业化,而IVD企业正是这条转化链条中不可或缺的承接者。

结合《LDT试点工作指引》及行业最新实践,一套标准且可复制的“医工融合”LDT转化流程,可清晰拆解为五步:

临床痛点立项:聚焦国内无同类上市产品且临床迫切需求的空白领域(如特殊过敏原、创新肿瘤标志物)。真实的临床刚需,是启动LDT路径的大前提。

院内备案封闭使用:医疗机构完成试剂研发与性能验证后,向省级药监局、卫健委提交备案。备案通过后,试剂仅可在本院内合法收费使用,严禁对外销售——这是LDT合规的底线。

积累真实世界数据(RWD):这是跨越死亡之谷的核心要素。试剂在院内常规应用中,会自然沉淀海量的真实世界数据。无需高昂成本去专门招募受试者,其数据真实性与临床适用性远优于传统临床试验。

医企协同转移IP:医疗机构受限于职能,无法直接产业化。此时需将试剂核心技术(IP)转移至合作的IVD企业或自有科技转化平台。企业作为注册人(MAH),对接CDMO企业筹备规模化生产。

RWD辅助快速注册:IVD企业凭借医疗机构前期积累的真实世界数据,叠加国家“春雨行动”的专人辅导与绿色通道,直接向NMPA申报产品注册证。此举可将审批周期较传统路径缩短50%以上。

四、 标杆落地:协和“首证”的全链路实战

上述流程并非纸上谈兵,北京协和医院已经走通了这一实战闭环。

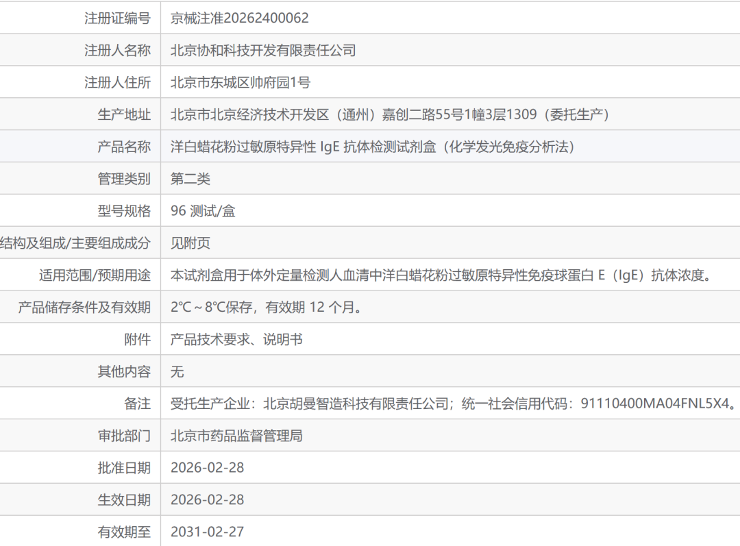
根据北京市药监局2026年2月公告,由北京协和医院自主研发、北京协和科技开发有限责任公司承接转化的**“洋白蜡花粉过敏原特异性IgE抗体检测试剂盒”**,正式获得二类医疗器械注册证(京械注准20262400062)。

该产品的获批一举创下三个“全国第一”:

  • 国内首个从医疗机构院内LDT备案,成功转为NMPA正式注册上市的IVD产品;
  • 国内首个完全依托真实世界数据(RWD)完成临床评价,即获得审批的医疗器械;
  • 填补了北京春季第二大花粉过敏原(洋白蜡)的精准诊断空白。据协和医院2025年花粉检测临床数据显示,洋白蜡花粉占北京春季花粉总量14%,门诊阳性检出率高达47.7%,此前该领域长期缺乏精准检测试剂。

协和的实战时间线堪称教科书级别:2024年,协和作为首批试点完成该试剂院内备案;2025年春季花粉高发期,试剂在临床大规模应用,数月内便积累了7000例真实世界数据。随后,该项目被纳入北京市“春雨行动”重点培育名单,由监管部门全程专人对接。最终,协和科技开发公司作为MAH,委托北京胡曼智造开展规模化生产,首次完整打通了“以真实世界数据替代传统临床试验”的审批闭环。

五、 遍地开花:试点医院LDT项目全景扫描

除北京协和外,多家试点医院的LDT标杆项目也已相继落地,覆盖了感染诊疗、儿童精准用药、肿瘤早筛等核心领域:

  1. 全国首个LDT备案:上海儿童医学中心·抗癫痫五联检据上海市药监局备案公示,2024年7月,上海儿童医学中心“五项抗癫痫药物浓度测定试剂盒(LC-MS法)”完成LDT备案,成为全国首个破冰项目。该试剂精准解决了儿童癫痫个体化给药的难题,验证了LDT在儿童罕见病精准诊疗领域的巨大价值。
  2. 全国首个mNGS LDT:中日友好医院·下呼吸道病原检测2024年10月,中日友好医院自主研发的“下呼吸道病原微生物检测试剂盒”完成备案,成为全国首个基于mNGS技术的感染性疾病LDT产品。该试剂快速投入临床,在重症肺炎、脓毒症等疑难感染的病因诊断中发挥了关键作用。据该院科研简报透露,2025年医院已启动肿瘤MRD检测试剂的委托生产调研,正在进一步拓展LDT的边界。
  3. 肿瘤早筛破局:复旦肿瘤医院·胰腺癌多靶点基因检测作为首批试点,复旦肿瘤医院围绕胰腺癌早期诊断,成功备案了多靶点基因检测LDT项目。该项目构建的多标志物联合检测模型,有效填补了胰腺癌早期筛查的临床空白,充分彰显了LDT在复杂肿瘤精准诊断中的核心价值。

结语:IVD创新的下一个战场,从在29家试点医院开始

北京协和医院的LDT“首证”,不仅仅是一张证书,更是对中国IVD创新底层逻辑重塑的全面宣告——传统“闭门造车、依赖渠道铺路”的发展模式已走到尽头。

在新的产业生态中,顶尖的LDT试点医院不再是单纯的“产品销售终端”,而是临床创新的策源地与合规数据的孵化器。医疗机构手握真实的临床痛点、宝贵的样本资源与真实世界数据;IVD企业则具备强大的研发转化实力与产业化经验。二者深度绑定,叠加“春雨行动”的政策红利,才是跨越“死亡之谷”的唯一通途。

对于具备底层技术壁垒的IVD创新企业而言,当下最核心的战略,不是盲目跟风做平替,而是拿着29家试点医院的名单,精准匹配自身技术,主动敲开顶尖临床团队的大门。以LDT模式快速落地创新技术,用真实世界数据构筑坚不可摧的核心壁垒,借政策东风实现快速拿证——这,才是中国IVD企业在下半场实现逆风翻盘的终极密码。

声明:
1、凡本网注明“来源:小桔灯网”的所有作品,均为本网合法拥有版权或有权使用的作品,转载需联系授权。
2、凡本网注明“来源:XXX(非小桔灯网)”的作品,均转载自其它媒体,转载目的在于传递更多信息,并不代表本网赞同其观点和对其真实性负责。其版权归原作者所有,如有侵权请联系删除。
3、所有再转载者需自行获得原作者授权并注明来源。

最新评论

关闭

官方推荐 上一条 /3 下一条

客服中心 搜索 洽谈合作
返回顶部