立即注册找回密码

QQ登录

只需一步,快速开始

微信登录

微信扫一扫,快速登录

搜索
小桔灯网 门户 资讯中心 企业动态 查看内容

品峰起诉利德曼!

2026-4-3 15:21| 编辑: 鹏哥| 查看: 159| 评论: 0|来源: IVD资讯整理自爱企查

摘要: 案由为买卖合同纠纷

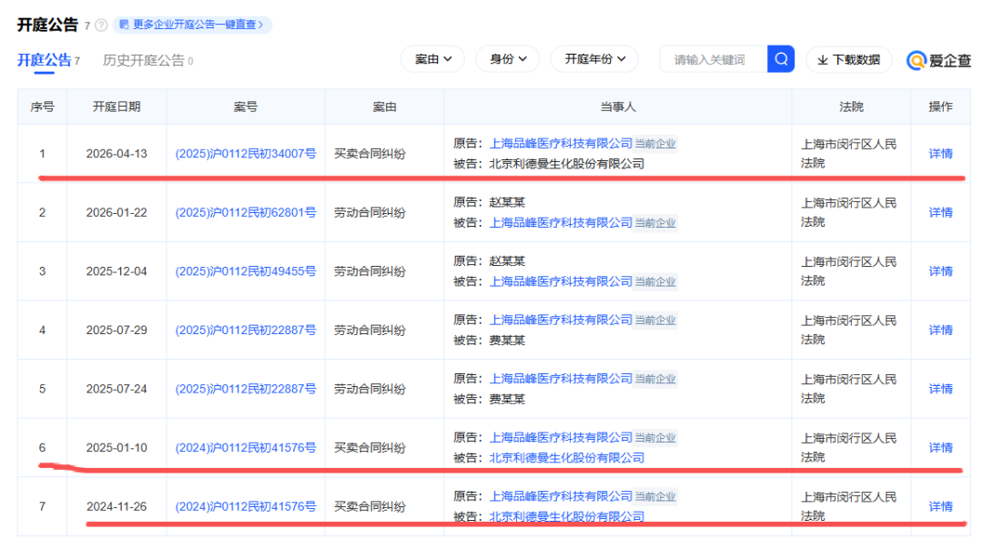
4月3日消息,爱企查数据显示,近日公布了一则北京利德曼生化股份有限公司作为被告/被上诉人的开庭公告,案号为(2025)沪0112民初34007号,案由为买卖合同纠纷,审理法院为上海市闵行区人民法院,当事人方面,原告/上诉人为上海品峰医疗科技有限公司,被告/被上诉人为北京利德曼生化股份有限公司,开庭时间为2026年04月13日14:00。


图片

查询发现,品峰和利德曼之间,在2024年11月、2025年1月,也分别以买卖合同纠纷开庭。


图片

上海品峰医疗科技有限公司成立于2020年,是一家集自主研发、生产、销售和服务于一体的平台型体外诊断企业。公司致力于打造以智慧检验和精准诊断为特色的整体解决方案,其产品服务于国内的各级医院,推动智慧和精准医疗的具体落地。


图片


北京利德曼主要从事体外诊断试剂、诊断仪器、生物化学原料的研发、生产 和销售,体外诊断试剂产品线包括生化类、免疫类等;自产诊断仪器主要为全 自动化学发光免疫分析仪;生物化学原料产品包括生物酶、辅酶、抗原、抗体、 精细化学品等。上市公司的产品主要应用在各类疾病的临床诊断,产品已广泛 应用于国内各级医院、体检中心、第三方医学检验中心、科研院所及高校研发中心等机构客户。 

声明:
1、凡本网注明“来源:小桔灯网”的所有作品,均为本网合法拥有版权或有权使用的作品,转载需联系授权。
2、凡本网注明“来源:XXX(非小桔灯网)”的作品,均转载自其它媒体,转载目的在于传递更多信息,并不代表本网赞同其观点和对其真实性负责。其版权归原作者所有,如有侵权请联系删除。
3、所有再转载者需自行获得原作者授权并注明来源。

最新评论

关闭

官方推荐 上一条 /3 下一条

客服中心 搜索 洽谈合作
返回顶部