立即注册找回密码

QQ登录

只需一步,快速开始

微信登录

微信扫一扫,快速登录

搜索
小桔灯网 门户 资讯中心 企业动态 查看内容

暴雷!估值超15亿的IVD上市企业,人去楼空

2025-5-23 14:26| 编辑: 鹏哥| 查看: 2473| 评论: 0|来源: 医药投资部落

摘要: 公开信息显示,璟泓科技拥有72项专利、43项医疗器械注册证,研发投入占比持续提升,曾处于国内POCT第一梯队。

2025年5月16日,浙商证券发布了关于在新三板挂牌上市的IVD企业璟泓科技的风险提示公告。


这份公告中提示:璟泓科技涉及主要银行账户被冻结、全部业务停产停顿、重大债务违约、实际控制人股份被质押及冻结等一共11项重大风险。


浙商证券表示,券商人员于2025年2月26日前往公司武汉生产基地、办公场所实地走访,公司处于关闭状态,已无人生产、办公。


由于璟泓科技公司流动资金紧张,存在重大债务违约,涉及多项诉讼,公司主要银行账号已被冻结,无法正常开展业务,无法正常向员工发放工资,员工大量离职,公司全部业务停产、停顿。


璟泓科技,全称是武汉璟泓科技股份有限公司,是一家曾在新三板挂牌的生物医药企业,成立于2005年,总部位于武汉光谷生物城


公司以体外诊断(IVD)为核心业务,涵盖POCT(即时检测)试剂、医学影像设备及智慧医疗产品,曾是国家高新技术企业。


公开信息显示,璟泓科技拥有72项专利、43项医疗器械注册证,研发投入占比持续提升,曾处于国内POCT第一梯队。


2013年挂牌新三板之后,璟泓科技通过4次增发累计募资2.89亿元,并成功引入深圳创投、天风天睿等知名机构。


2015年,璟泓科技在新三板的交易价格最高达到过25.8元/股,对应的公司整体估值超过了15亿元。


从2021年到2023年,璟泓科技的收入分别为3.12亿、3.8亿、3.18亿,对应的净利润分别为3453.04万元、6092.47万元、4374.27万元。


仅仅从简单数字看上去,虽然没有高速的增长,但是公司还是处于生存无忧的状态


但是这一切,仅仅是数字。


从2024年上半年开始,璟泓科技的基本面风云突变。


2024的半年报显示,璟泓科技的收入仅有0.4亿元,同比暴跌87%,净利润更是由盈利变为亏损超3400多万元。


对于这种经营层面的急转直下,璟泓科技在半年报中解释:主要系本期受经济环境变化和市场竞争加剧的影响,公司客户订单大幅下降所致。


从财务报表来看,璟泓科技2023年底账上仅有现金800万元,到了2024年的6月底,更是只有现金100万元,处于资金极度紧张的状态。


但是与此同时,公司竟然有短期借款2.28亿,账上资金连利息都难以覆盖。


璟泓科技这几年的利润,去哪了?

财务报表也给出了答案:公司现有应收账款近2亿,存货3.1亿。


仅仅这两项,合计就超过了5亿。

可以看出,一边是巨额的债务,一边是收不回的账款和卖不动的存货,公司的现金流彻底断裂。


从现有状况来看,公司无疑是选择了放弃:截至 2025年3月底,公司以及子公司的逾期银行贷款金额约2.1亿元,同时共欠税 4576万元,二者合计约2.5亿元。


除非应收账款全部收回,且存货全部按照成本以上价格卖出去,这家公司才有可能起死回生,而这显然已经毫无可能。


根据2023年的财报,璟泓科技的客户非常集中,其中第一大客户的销售金额就占了1.36亿,但是公司没有披露第一大客户的具体名称。


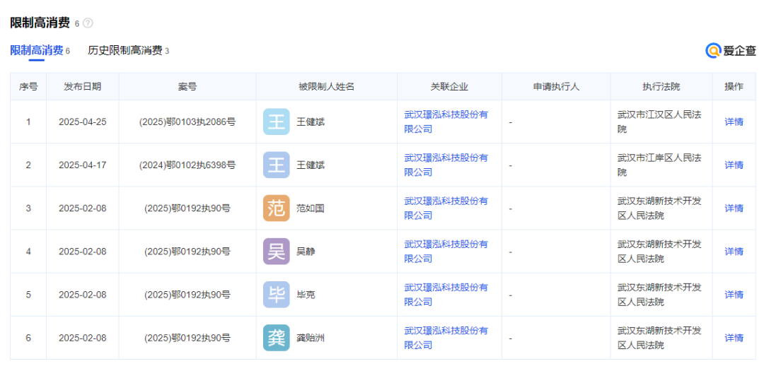
目前,璟泓科技实际控制人一致行动人,已经被列为被执行人及被采取限制消费措施,执行金额较高,且董监高人员基本已经离职。


图片
图片
声明:
1、凡本网注明“来源:小桔灯网”的所有作品,均为本网合法拥有版权或有权使用的作品,转载需联系授权。
2、凡本网注明“来源:XXX(非小桔灯网)”的作品,均转载自其它媒体,转载目的在于传递更多信息,并不代表本网赞同其观点和对其真实性负责。其版权归原作者所有,如有侵权请联系删除。
3、所有再转载者需自行获得原作者授权并注明来源。

最新评论

关闭

官方推荐 上一条 /3 下一条

客服中心 搜索 官方QQ群 洽谈合作
返回顶部