立即注册找回密码

QQ登录

只需一步,快速开始

微信登录

微信扫一扫,快速登录

搜索
小桔灯网 门户 资讯中心 企业动态 查看内容

杭州POCT公司破产!商标被拍卖,656元

2025-2-17 16:08| 编辑: 鹏哥| 查看: 1625| 评论: 0|来源: 企查查,阿里资产、IVD从业者网

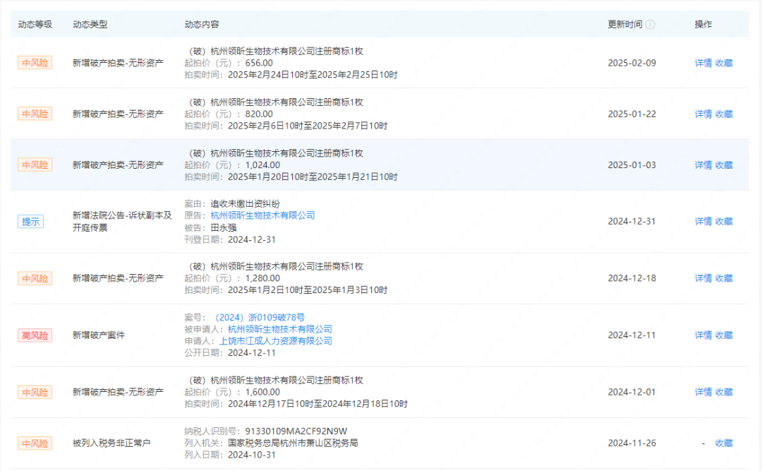
摘要: 企查查数据显示,杭州领昕生物技术有限公司自2024年开始已经陆续官司缠身

近日,阿里资产拍卖杭州领昕生物技术有限公司的一组商标,起拍价 656元

据悉,杭州领昕生物技术有限公司成立于2018年,主要从事POCT类产品的研发、生产和销售。

图片

图片图片

企查查数据显示,杭州领昕生物技术有限公司自2024年开始已经陆续官司缠身,2023年被列入限制高消费、2024年被列入失信执行人,申请破产清算。

图片

图片

声明:
1、凡本网注明“来源:小桔灯网”的所有作品,均为本网合法拥有版权或有权使用的作品,转载需联系授权。
2、凡本网注明“来源:XXX(非小桔灯网)”的作品,均转载自其它媒体,转载目的在于传递更多信息,并不代表本网赞同其观点和对其真实性负责。其版权归原作者所有,如有侵权请联系删除。
3、所有再转载者需自行获得原作者授权并注明来源。

最新评论

关闭

官方推荐 上一条 /3 下一条

客服中心 搜索 洽谈合作
返回顶部