立即注册找回密码

QQ登录

只需一步,快速开始

微信登录

微信扫一扫,快速登录

搜索
小桔灯网 门户 资讯中心 专栏文章 IVD工具人 查看内容

微流控IVD有多惨?你甚至还没听说过,它就已经破产了!

2025-4-17 14:36| 编辑: 沙糖桔| 查看: 2073| 评论: 0|来源: IVD工具人

摘要: 去年5月,公司已经关门,进入破产清算阶段。

之前有两个微流控企业的新闻在业内引起过广泛讨论,一个是苏格兰的LumiraDx,破产,被罗氏用3.5亿美金买走技术。另一个是国内的华迈兴微,给员工放假10个月。

两家都是以微流控作为核心技术的IVD企业,技术不得不说非常优秀,市场不是不说非常困难,说明微流控在IVD的应用要求是相当高的,一招不慎,便要落入经营困难的境地,这样的状况对于微流控是一个普遍现象。

近日的一则限高令,又引出了一家破产的微流控企业,除了惋惜还是惋惜。

曾斩获数千万融资,在微流控芯片、POCT化、流式荧光投入了很多,但是没有能够坚持到产品获批上市。其实,就算获批,也不见得能更好。如今,企业已步入破产清算程序快一年了,相关责任人也被限制了高消费。

深圳市XKR生物科技有限公司成立于2017年,总部位于深圳,并在加拿大设有研发中心。公司曾被视为“微流控芯片技术国产替代”的希望之星,专注于体外诊断(IVD)领域,以微流控技术和流式荧光平台为核心,致力于开发便携式、低成本的检测系统,推动检测技术的小型化、个人化和家用化。其使命是提升医疗检测效率、降低医疗成本,并改善患者就诊体验。

可惜“资金链在最后200米断裂”。去年5月,公司已经关门,进入破产清算阶段。

在倒下之前,XKR生物曾四处奔走自救。公司曾与200多家投资公司展开谈判,其中5家完成了尽调报告甚至有1家上市企业曾有意跨界投资,但最终都未能成功融资。同时,公司还积极与长三角多个地方政府洽谈项目落地事宜,得到的却大多是口头承诺,始终没有获得实质性的支持。

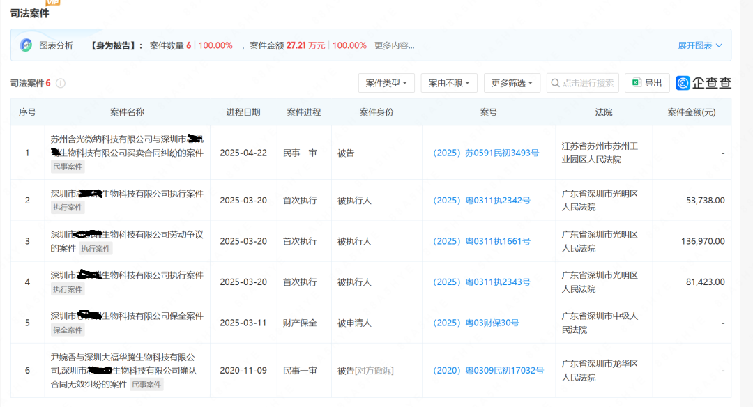
根据企查查资料显示,深圳市XKR生物科技有限公司存在司法诉讼5条,最近一次为2025年3月20日新增一条限制高消费信息,存在被执行人等高风险信息共计3条,存在股权冻结中风险信息共计1条。

XKR生物曾在2019年底完成A轮融资,融资金额为数千万元。

公司创始人D总拥有加拿大多伦多大学电子工程博士学位,在微/纳米制造、集成光子学和微流体器件方面拥有超过15年的研发经验。

联合创始人C总拥有加拿大多伦多大学分析化学博士学位,在即时诊断领域有超过十五年的创新研究、产品开发和管理经验。

两人曾共同创立加拿大微流控公司,成功开发出基于微流控芯片的手提式CD4淋巴T细胞计数分析POCT检测系统,被加拿大商业杂志评为“加拿大创新大赛”第一名。公司其他核心团队成员均来自Luminex、迈瑞、国赛、华大等IVD产业的资深产品、研发及销售骨干。

可能微流控相对于IVD有点太阳春白雪,而国内的市场往往是下里巴人,两者的交集实在不多。很多微流控上投入都打了水漂。但也不排除一些已经跑出来的微流控企业,例如斯玛特,微纳芯,普施康等等,期望有更多的微流控企业可以熬过亏损,实现盈亏平衡,把更先进的POCT技术应用到更多的IVD产品上去。

声明:
1、凡本网注明“来源:小桔灯网”的所有作品,均为本网合法拥有版权或有权使用的作品,转载需联系授权。
2、凡本网注明“来源:XXX(非小桔灯网)”的作品,均转载自其它媒体,转载目的在于传递更多信息,并不代表本网赞同其观点和对其真实性负责。其版权归原作者所有,如有侵权请联系删除。
3、所有再转载者需自行获得原作者授权并注明来源。

最新评论

关闭

官方推荐 上一条 /3 下一条

客服中心 搜索 官方QQ群 洽谈合作
返回顶部