连发13条通告!星云基因,被执行1083万!
2025-2-12 11:39|
编辑: 沙糖桔|
查看: 2225|
评论: 0|来源: 企查查
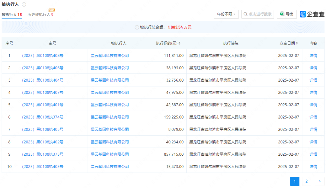
摘要: 自今年1月以来,星云基因累计被执行总金额已经达到1083万!
近日,星云基因因短短一天内,连续收到13条被执行通告,引起业内广泛关注,企查查数据显示,2月8日,黑龙江省哈尔滨市平房区人民法院对星云基因科技有限公司连发13条被执行人信息,自今年1月以来,星云基因累计被执行总金额已经达到1083万!

 官网信息显示,星云基因科技有限公司(以下简称“星云基因”)成立于2015 年底,是一家以第三方医学检验为核心的高新技术企业,运用基因测序、质谱分析、大数据分析等基因检测技术,提供肿瘤防治、感染防控、健康管理、遗传筛查、个体化用药基因检测等产品及服务,坚持信息技术与生物技术创新双轮驱动科技引领企业发展,致力于成为中国领先的数字化基因检测服务与解决方案提供商,推动基因行业的产业数字化,已与中国移动北方数据中心合作,建设管理百万级人群基因检测数据的重大疾病组学大数据平台。星云基因总部位于黑龙江省哈尔滨大数据产业园,下设子公司哈尔滨星云医学科技有限公司、哈尔滨星云智造科技有限公司,和具备第三方临床医学检验资质的医学检验所7家,分别位于哈尔滨(3)、北京(1)、上海(1)、重庆(1)和成都(1),正在筹建中的第三方临床医学检验所2家,分别位于西安和东莞。
|
声明:
1、凡本网注明“来源:小桔灯网”的所有作品,均为本网合法拥有版权或有权使用的作品,转载需联系授权。
2、凡本网注明“来源:XXX(非小桔灯网)”的作品,均转载自其它媒体,转载目的在于传递更多信息,并不代表本网赞同其观点和对其真实性负责。其版权归原作者所有,如有侵权请联系删除。
3、所有再转载者需自行获得原作者授权并注明来源。