立即注册找回密码

QQ登录

只需一步,快速开始

微信登录

微信扫一扫,快速登录

搜索
小桔灯网 门户 资讯中心 国内新闻 查看内容

曾获亿元投资,深圳一IVD企业列入被执行人,创始人股权被冻结

2024-8-8 17:21| 编辑: 沙糖桔| 查看: 2462| 评论: 0|来源: 企查查、IVD从业者网

摘要: 深圳华迈兴微医疗科技有限公司被列入被执行人

2024年07月29日,医业观察发布文章:创业10年,曾获丹纳赫投资,IVD企业被列入被执行人和限制高消费......企查查数据显示,北京百康芯生物被列入被执行人和限制高消费。


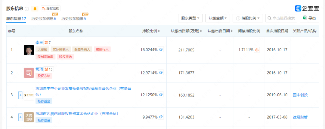
8月7日,据企查查数据显示,深圳华迈兴微医疗科技有限公司被列入被执行人,公司董事长李泉,联合创始人司珂股权被冻结。




深圳华迈兴微医疗科技有限公司为2014年成立,研发中心设在深圳,主要从事一二类医疗器械的研发和销售。目前主要产品为即时诊断设备(Point of Care Testing, POCT)以及心脏标志物检测卡。公司拥有以归国专家为首的精英团队,多名成员具有多年体外诊断领域研发经验,合作默契,专业水平强。团队从成立以来潜心于产品研发及技术平台搭建,其中多项核心技术已经获得国家发明专利授权。公司目前建成10万级GMP洁净厂房,具有国内外先进的研发和生产设备。


去年11月份,深圳华迈兴微医疗科技有限公司两份《放假通知》在社交平台热传引发关注。通知显示,“放假时间分别是2023年7月1日9时至2023年10月31日18时和2023年11月1日9时至2024年4月30日18时。放假原因是订单不足,导至公司经营困难,无法满足经营条件,经公司研究决定采取放假方式缓解经营压力。


2023年11月27日,华迈兴微公司工作人员回应称 :“目前,公司业务正常开展。只是对部分员工放假了。”至于放假的那些员工的安排,上述工作人员表示:“其实就是差不多不用回来的意思了,但这些人又没主动提出离职,公司又没钱赔偿,但是放长假也是合规的。


声明:
1、凡本网注明“来源:小桔灯网”的所有作品,均为本网合法拥有版权或有权使用的作品,转载需联系授权。
2、凡本网注明“来源:XXX(非小桔灯网)”的作品,均转载自其它媒体,转载目的在于传递更多信息,并不代表本网赞同其观点和对其真实性负责。其版权归原作者所有,如有侵权请联系删除。
3、所有再转载者需自行获得原作者授权并注明来源。

最新评论

关闭

官方推荐 上一条 /3 下一条

客服中心 搜索 洽谈合作
返回顶部