立即注册找回密码

QQ登录

只需一步,快速开始

微信登录

微信扫一扫,快速登录

搜索
小桔灯网 门户 资讯中心 杂侃天下 查看内容

分子POCT企业,遭遇困难,或许是接盘好时机!

2024-8-2 14:31| 编辑: 沙糖桔| 查看: 1597| 评论: 0|来源: IVD工具人

摘要: 祝愿百康芯早日脱困,重新拼搏于分子POCT!


来源:企查查、百康芯、IVD从业者网




近日,企查查数据显示,北京百康芯生物被列入被执行人和限制高消费,而据一则申请财产保全的诉讼来看,冻结百康芯(天津)生物科技有限公司、北京百康芯生物科技有限公司名下银行存款164,142.63元或查封、扣押百康芯(天津)生物科技有限公司、北京百康芯生物科技有限公司名下相当于164,142.63元的其他等额财产。



而从案件的执行标的总金额来看,高达 1,089.78 万元。



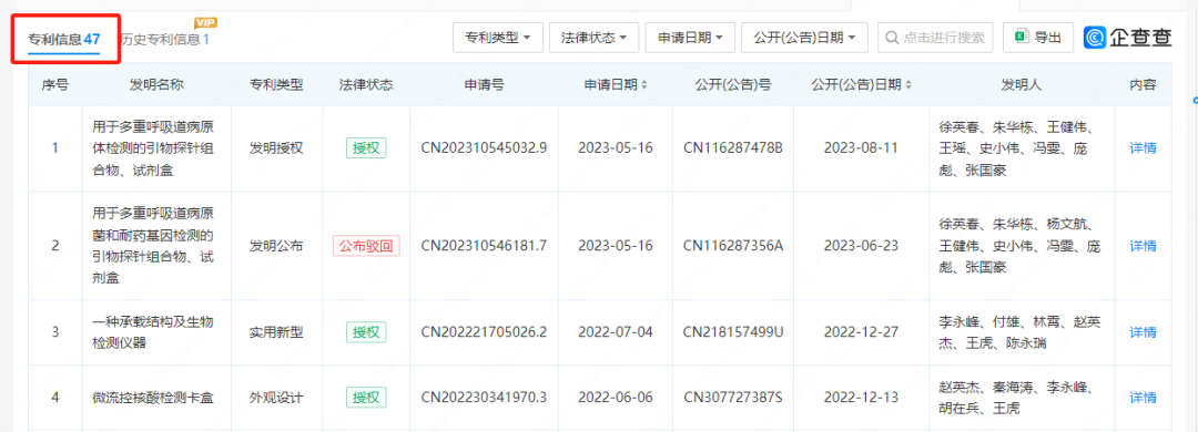
百康芯是国家一家专业做分子POCT产品研发生产型企业,成立于2013年,其在微流控芯片与配套试剂领域有多项技术突破,相关专利多达40余项,是一家专业做核酸检测一体机的公司。


创业难,难于上青天,每走一步都是负重前行。


百康芯是国内较早做微流控试剂卡盒的企业,做了很多底层技术的研发,在10年前作微流控试剂盒不像现在,很多技术上的,工业上的东西都需要一点一点的摸索,这些都是企业研发的成本。


从国家药监局官网显示,2018年拿到了一款恒温仪器的注册证,2021年拿到了一款下呼吸道多联检的产品,当时在业内还引起了不小的轰动。


但这款产品依旧没有能为百康芯带来腾飞,如果它是一款上呼吸道多联检情况会不会不一样,毕竟那是在2021年,呼吸道检测市场还没有开始起量,想要卖好一款下呼吸道产品所需要的市场教育成本太高,高到企业没办法坚持太久。



从百康芯的融资历程来看,最近的一笔融资为2022年的一则新闻,由全球生命科学与诊断头部企业领投,近亿元战略融资,助力百康芯的大规模生产能力与国际营销体系的建设。


而据股权变更信息显示,2022年5月,丹纳赫旗下投资公司,丹纳赫创思进入百康芯股东。但未满1年,便在2023年3月从股东中退出。



百康芯还曾获得过广东省钟南山医学基金会、上海国药医疗器械股权投资基金合伙企业的投资,备受产业资本看好。


创业10年,专注中国微流控产业发展,受到多家产业资本看好的分子POCT企业,如今举步维艰,不禁令人唏嘘。


创业难,在分子POCT领域创业更难。


不要说百康芯了,就算是在大流行时期,在美国市场大卖特卖的Lucira,Cue Health,在大流行结束后也同样遭遇了困难。


不过幸运的是,Lucira 被辉瑞接盘,而Cue Health 也即将被新兴POCT行业领导企业接盘。

好技术,好产品,终究还是能等来好东家的。


百康芯在国内也是微流控分子POCT先行者,10多年技术的累计,价值不可估量,虽然当下遭逢困境,实属龙游浅滩,如此时有大企业可以助力百康芯,顺势接过接下百康芯的技术和产品,重新盘活,日后一飞冲天,未尝不是一段佳话!


既然Lucira,Cue Health 都能找到满意的买家,我们相信百康芯也同样可以!


祝愿百康芯早日脱困,重新拼搏于分子POCT!

声明:
1、凡本网注明“来源:小桔灯网”的所有作品,均为本网合法拥有版权或有权使用的作品,转载需联系授权。
2、凡本网注明“来源:XXX(非小桔灯网)”的作品,均转载自其它媒体,转载目的在于传递更多信息,并不代表本网赞同其观点和对其真实性负责。其版权归原作者所有,如有侵权请联系删除。
3、所有再转载者需自行获得原作者授权并注明来源。

最新评论

关闭

官方推荐 上一条 /3 下一条

客服中心 搜索 洽谈合作
返回顶部